分享

注重可移动显示技术,微软Surface柔性折叠屏专利曝光

maka 发表于 2019-6-7 09:25:10 [显示全部楼层] 只看大图 回帖奖励 倒序浏览 阅读模式 1 1768
注重可移动显示技术,微软Surface柔性折叠屏专利曝光 abba0f5269d04e1bb2fb221054282f5c.webp

作者:玄隐

IT之家6月7日消息 最近一份报告声称,微软已经在内部向部分员工展示了一款新的Surface双屏幕设备。现在微软的一项关于折叠屏的新专利曝光,详细介绍了可折叠设备的移动显示技术。



2019_06_07_eac9e38805be447681b1342b19df05b1.webp

这是一项名为“可移动的显示器支持,使用相同的计算设备和使用方法”(MOVEABLE DISPLAY SUPPORTS, COMPUTING DEVICES USING SAME, AND METHODS OF USE)的新专利,由美国专利商标局于2019年6月6日发布,此前在2017年由微软提交。

与可折叠设备的其他专利不同,微软的新专利专注于显示屏技术。在专利图纸中,微软详细提供了可以弯曲或折叠的柔性显示器信息。

微软表示,柔性显示屏的普及近年来有所增长。该公司补充说,柔性显示器可能会移动到弯曲配置,但这种屏幕可能很脆弱。

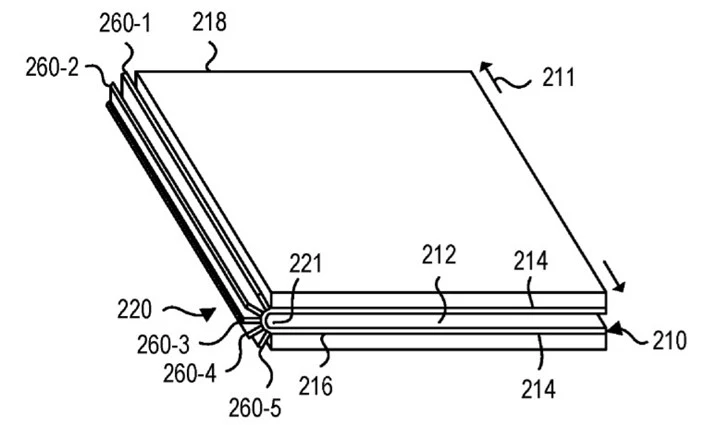
在该专利中,详细描述了具有可折叠和柔性显示器的计算设备。柔性显示器包括具有前表面和后表面的薄膜晶体管矩阵。为了提高显示器的耐用性,在显示器的后表面上配置了可移动的显示器支撑,以限制在一个方向上的弯曲。

“包括可移动显示器支撑件并且连接到显示器的后表面,并且被配置为将一个方向上的弯曲限制到第一弯曲半径,同时通过延长可移动件来保持薄膜晶体管矩阵上的应变低于预定应变量。在弯曲期间显示支持。”微软解释道。

2019_06_07_b5c85c5b86764e0396726e6709323ea5.webp

公开了一种包括有机发光二极管(OLED)显示器的计算设备。OLED显示器具有前表面和后表面。计算设备包括连接到显示器的后表面的可移动显示器支撑件。在一些实施方案中,可移动显示器支撑件经配置以将沿一个方向的弯曲限制到第一弯曲半径并将另一方向上的弯曲限制到第二弯曲半径。在一些实施方式中,可移动显示器支撑件由多个单元电池形成。”微软补充道。



回复

使用道具 举报

已有(1)人评论

跳转到指定楼层
孤傲的雪兔子 发表于 2021-12-30 16:58:21
<script type="text/javascript">var jd_union_pid="608851640356670760";var jd_union_euid="";</script><script type="text/javascript" src="//ads-union.jd.com/static/js/union.js"></script>
回复

使用道具 举报

您需要登录后才可以回帖 登录 | 立即注册

本版积分规则